北京长城计量测试技术研究所2024考研调剂拟录取名单公示
2024/5/8 11:37:20
来源: 网络
随着2024考研复试、调剂、补录的进行,考研宝子们也能发现,考研变得越来越卷,2025考研如何准备呢?当然是参考往年数据了!2024研究生考试计划招生多少人?北京长城计量测试技术研究所公布2024年考研调剂拟录取名单公示,还在择校的2025考研同学快和海天考研老师一起了解一下具体专业安排及复试分数要求。
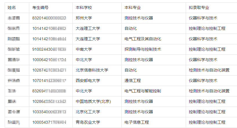
2024年调剂待录取名单


以上就是北京长城计量测试技术研究所2024考研调剂拟录取名单公示,对自己成绩没有把握的同学,可以提前研究一下往年试题情况和分数情况,考研择校要慎重,多关注考研目标院校动态。海天考研集训营老师提炼核心知识点多维度分析政治、数学、英语、专业课核心考点,强化答题技巧,科学备考1v1合理定制规划,助力2025研究生初试、复试备考,快加入一起复习吧!

热门推荐



